帳號:
密碼:
最新動態
產業快訊
CTIMES/SmartAuto / 新聞 /
別猜了!Google Glass硬體規格全都露
 

【CTIMES/SmartAuto 陳韋哲 報導】   2013年04月16日 星期二

瀏覽人次:【9649】

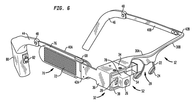
隨著Google Glass距離上市時間越來越近,其相關的傳聞消息卻是一天也沒停歇過,不過就在本月的16日Google官方終於首次公布Google Glass explorer版本的詳細硬體規格,讓外界能夠更清楚窺探Google Glass的神祕面紗,除了內建500萬畫素相機之外,同時內建16G儲存空間,以及支援與其他搭載Andorid 4.0.3行動作業系統版本的智慧手機進行互動連接。

Google公布Google Glass explorer版本之硬體規格。 BigPic:620x340
Google公布Google Glass explorer版本之硬體規格。 BigPic:620x340

關於顯示攝影功能方面,Google Glass穿戴式裝置所使用的攝影鏡頭除了能夠拍攝500萬畫素照片,亦能錄製720p解析度的視訊影片,而Google也表示Google Glass能夠讓配戴者在2.5公尺的距離彷彿置身觀看25吋大小的HD顯示螢幕,另外在通訊連線功能方面,內建儲存空間的檔案能夠即時與Google Drive空間進行同步,不過,比較可惜的是採用802.11B/G連線標準而非更高速的802.11N。

而在音訊功能方面,就如同傳聞所預測的一樣,是透過骨傳導技術來傳達聲音,並且支援以藍牙連線的方式與其他搭載Android 4.0.3行動作業系統版本的智慧手機進行連接,同時能搭配下載安裝Google MyGlass軟體,讓Google Glass得以分享使用智慧手機的GPS定位及簡訊發送功能。

Google Glass是採取MicroUSB充電傳輸介面,電池容量基本上足以應付基本的拍攝、攝影、視訊交談等功能應用。此外,由於考量到並非所有臉型的使用者都能合適配戴Google Glass,為了解決配戴上的問題,Google Glass將會隨附兩套鼻墊,讓配戴者在配戴Google Glass時能夠避免不適感。

雖然市場對於Google Glass這類的穿戴式裝置大多是抱以相當大的期待與注目,卻也出現不少反對的聲浪,配戴Google Glass時有無涉及隱私以及盜錄等爭議性問題都是急需被定義及規範,才能夠達到科技生活的真諦。

關鍵字: 802.11  Android  MicroUSB  Google(谷歌
相關新聞
Google台灣辦公室揭幕 打造海外最大AI基礎建設研發中心
Google發表「量子迴聲」算法 邁向量子運算實用里程碑
利用AI提升工作效率 田中系統開放使用ChatGPT資料輸入
達利思與Google雲端合作 建構全新AI驅動的安全功能
Supermicro最新Android雲端方案採用Intel GPU
相關討論
  相關文章
» 節流:電源管理的便利效能
» 共封裝光學(CPO)技術:數據傳輸的新紀元
» 高速數位訊號-跨域創新驅動力研討會
» 高級時尚的穿戴式設備
» 準備好迎接新興的汽車雷達衛星架構了嗎?


刊登廣告 新聞信箱 讀者信箱 著作權聲明 隱私權聲明 本站介紹

Copyright ©1999-2026 遠播資訊股份有限公司版權所有 Powered by O3  v3.20.2048.216.73.216.42
地址:台北數位產業園區(digiBlock Taipei) 103台北市大同區承德路三段287-2號A棟204室
電話 (02)2585-5526 #0 轉接至總機 /  E-Mail: webmaster@ctimes.com.tw