雖然許多感測元件都是基於矽,但有些功能只能透過機械元件來執行,而且最近這些機械元件已經小型化,以滿足當下汽車應用需求。使用高階的微製造技術,可以將電子零元件、感測器和高度小型化的機械元件添加到普通矽基板中。這些微機電系統(MEMS)為高度自動化的車輛開闢了許多新感測機會,同時能夠提供高可靠性,減少佔用空間並節省成本。
市場上有許多不同類型的MEMS感測器,它們通常分為四個主要類別:
‧ 運動偵測:加速度計和陀螺儀。
‧ 基於雷達進行物體偵測的射頻感測器。
‧ 通用車載感測:包括車內溫度和空氣品質,用於道路視覺的紅外感測和支援平視顯示裝置。
‧ 流量和壓力感測。

| 圖一 : 典型的MEMS感測器及其附帶調理電路圖。 |
|
簡而言之,能夠感測的越多,可以偵測和控制的也就越多。MEMS感測器在這裡取得了重大進展,並且經常應用在車輛的各個部分,包括電子穩定系統(ESP)和防鎖死煞車(ABS)系統以及自動懸吊系統和幾種類型的自動駕駛員輔助系統(ADAS)等等。
MEMS感測器不僅有助於提高安全性,而且能夠減少燃油消耗和排放,並可以提高駕駛員和乘客的舒適度。
運動偵測:加速度計和陀螺儀等
加速度計能夠在車輛中實現許多功能,根據重力(g)力量測加速(和煞車)力,從中可以匯出其他參數,例如速度或距離。一些MEMS加速度計使用壓電效應,包含因車輛運動產生應力的微晶體結構,可產生比例式電壓。業內也存在其它技術/選項,包括電容和熱技術,設計人員需要為每種應用選擇最佳方式。還需要考量許多其它因素,包括諧振頻率、元件可靠性、元件穩定性、頻寬和功耗等。
加速度計可量測線性運動,而陀螺儀感測器則量測角速度,單位為度/秒(°/ s),或者以每秒轉數(rps)為單位,其中任何一個都給出旋轉速度。陀螺儀的選擇標準與加速度計類似,但也包括對電磁干擾(EMI)的敏感度考量,這可能對量測精度產生重大影響。
該技術最常見的應用之一是碰撞感測器,可偵測到車輛遭受到的重大衝擊。基於MEMS慣性感測器(加速度計和陀螺儀)的感測模組能夠持續偵測車輛加速度,如果超過預設閾值,則微控制器(MCU)透過積分加速度值來運算速度差值。如果偵測到顯著且快速的速度變化(線性或角度),則確定系統發生了碰撞並採取適當安全措施。
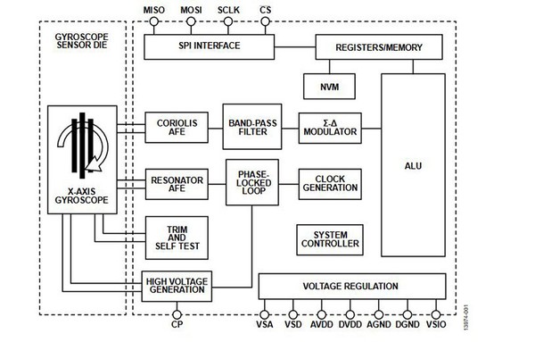
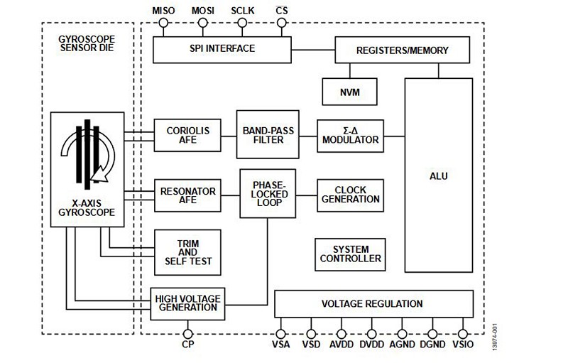
STMicroelectronics可提供AIS1120SX/AIS2120SX 系列3軸加速度計,並以低雜訊和高解析度量測以及各種節能運作模式(包括喚醒功能)而聞名。這些加速度感測器能夠量測碰撞過程中通常遇到的高水準g力,可在延伸運作溫度範圍內提供完整的訊號幅度偵測。在需要最高整合度的場合,設計人員通常會在單個晶片中選擇包含加速度計和陀螺儀的6軸iNEMO 組件。

| 圖二 : STMicroelectronics AIS1120SX的功能方塊圖。 |
|
Analog Devices 公司的ADXRS910是一款基於MEMS的陀螺儀,可以偵測車輛側翻等更嚴重事件。該元件運作溫度範圍為-40℃至+ 105℃,包括一個板載溫度感測器,可以補償環境溫度變化的影響,確保最高水準的穩定性。該元件採用3.3V或5V電源在20mA電流下運作,採用微型SOIC封裝,能夠進行量測±300°/秒的角速度,資料透過SPI介面傳送到車輛系統的其餘部分。
壓力和超音波量測
車輛仰仗各類液體正確安全地運作,包括汽油、引擎冷卻液、引擎油、煞車液、清洗液等。為了保持安全運作,需要應用Melexis的MLX90819 MEMS壓力感測器等元件來偵測液面水準。該元件使用人耳聽不到的超音波來確定到液體表面之距離。轉換器(transducers)安裝在液體容器底部,能夠反射超音波的元件則安放在液體表面。
透過使用一種名為飛行時間(ToF)的技術,可以對照高精准度的時間訊號來量測超音波從轉換器行進到浮子並返回到接收器所花費的時間,該時間可以對應出到表面的距離,加之容器的截面積,可以精准地演算出液體的體積。隨著液體溫度變化,量測精度會受到影響,因此許多感測器都包括有溫度感測元件,可用於補償溫度變化,從而在所有條件下都提供準確的資料讀取。
使用類似超音波的技術也可用於確定管道中流動的液體速度。
MEMS等許多片上系統(SoC)解決方案都包括有高精度、整合的類比前端(AFE),可在10mm至1m量測範圍內提供高達1mm的精度。其中一種元件是Texas Instruments的TDC1000,它針對超音波液位元量測和類似應用進行了優化。 TDC1000與合適的MCU一起使用,能夠組建完整的超音波量測解決方案。
總結
MEMS技術在汽車領域的重要性日益增大,因為它可以量測許多不同參數,增強車輛系統安全性,並提供更高的燃油經濟性或舒適性等其它好處。伴隨車輛迅速轉向全自動化駕駛,MEMS裝置將在確保車輛正確駕駛,最重要的是安全運作方面發揮關鍵作用。
(本文作者Mark Patrick任職於貿澤電子)